告诉大家一个好消息,那就是“冬奥会”纪念钞的价格涨了啊,从41.5元涨到了43.5元,虽然涨幅不大,但也算是一个并不易的点吧。非常特殊号码的纪念钞你肯定又没有,谁不希望能出现普涨行情呀。

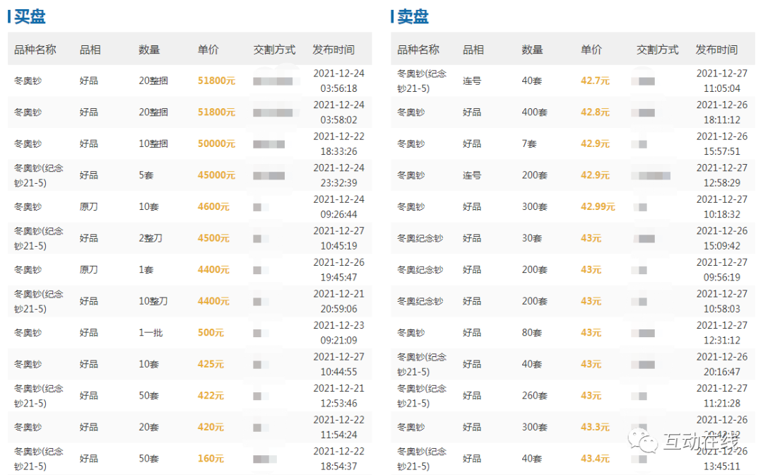
▲互动网冬奥钞买卖盘

▲互动网冬奥钞最新成交
泰山普通纪念币在互动网网上邮市成交单价只有11.5,再度创出上市以来的新低。

▲泰山纪念币最新成交
而市场的另一边却正在对于“冬奥会”纪念钞发起靓号攻势,价格便宜的好几十元,价格贵的好几万元,贫富差距,真是不小呀。就是最普通的“冬奥会”纪念钞的价格也有43元了。
想当初,“泰山”普通纪念币也是一个在市场上炙手可热的品种,价格高的时候达到了20.5元,在15至19元之间进行了较长时间的博弈,但最终还是败下阵来,未能走出新的盈利行情。
2020年12月份的时候,“泰山”普通纪念币收购价还能达到17.5元;2021年12月末的时候,“泰山”普通纪念币收购价也就只有11.5元了,跌幅高达34%呀,真是令人酸楚。
随着“冬奥会”纪念钞靓号行情的延伸,以及“壬寅虎”普通纪念币网上预约时间(2022年1月7日)的日益临近,“泰山”普通纪念币将会继续被边缘化,“武夷山”普通纪念币那就更不用说了,因为上市之后从未热过,就是面无表情冷到底。
虽然“武夷山”普通纪念币上市之后的表现实在是欠佳,但人家毕竟还是从16元跌到7元之下的,网上预约到且快速走人的泉友还是有不小的利的,这一点我们在任何时候都要念“武夷山”普通纪念币的好。
而像“冬奥会”普通纪念币这样的高量低价品种,我们早就无话可说了,你说它能走出行情,那是绝对不可能的事情了,资金都一窝蜂地涌向了“冬奥会”纪念钞,此后还有发行量减至1.2亿枚的“壬寅虎”普通纪念币的网上预约,“冬奥会”普通纪念币的处境也就变得越来越尴尬了,生存空间变得越来越小了,哪里还有什么盈利空间呀。
要不然搞一个“冬奥会”普通纪念币和纪念钞的相互搭售吧,也不知道,此法是否可行,卖“冬奥会”纪念钞搭售“冬奥会”普通纪念币,卖“冬奥会”普通纪念币搭售“冬奥会”纪念钞,也不能光看“冬奥会”纪念钞在那里表演呀,也给“冬奥会”普通纪念币一个走秀的机会呀。
我们现在发行的无论是普通纪念币,还是更少的纪念钞,它们最具生命力的周期都不长,有的普通纪念币连稍纵即逝的机会都没有,你说“冬奥会”普通纪念币有稍纵即逝的机会嘛,没有吧;“武夷山”普通纪念币闪了一个亮就熄灭了,多么可惜呀;“辛丑牛”普通纪念币倒是在15元上扛,但最终还是没有扛住,跌到了现在的12.3元。

▲互动网辛丑牛最新成交
“人民币发行70周年”纪念钞从58元涨到86元,再从86元跌至目前的70元,这个运行态势就算是不错了,算是基本扛住了,其中最大的亮点就是没有创出新低,这是一个标志性的基准点。
希望“冬奥会”纪念钞也能在适当的时候演绎这样的行情,要是能在当下就演绎像“人民币发行70周年”纪念钞那样的行情,那就再好不过了。
文章来源:周凤迟
文章内容仅供分享参考,不代表本平台最终观点。







964